Схема стробоскопа для установки зажигания своими руками: как пользоваться, настройки угла опережения

[ Скрыть]Правильная настройка угла опережения зажигания (УОЗ) — это один из основных аспектов регулировки, позволяющий добиться правильной работы двигателя. Из-за неверно выставленного УОЗ мотор будет работать с перебоями, а в некоторых случаях и вовсе не будет запускаться. Для регулировки можно использовать стробоскоп. Как соорудить стробоскоп для установки зажигания своими руками — узнайте из этого материала.
Описание стробоскопа
Как сделать простой стробоскоп для настройки УОЗ на светодиодах, из каких элементов будет состоять схема девайса? Сначала рассмотрим основные характеристики устройства.
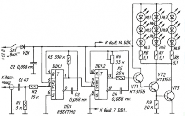
Рабочая схема

Основные составляющие элементы на примере вышеописанной схемы:
- Из переключателя SA1, диодного элемента VD1 и конденсаторного устройства С2 состоит цепь питания. Диод применяется для защиты других составляющих частей от ошибочной перемены полярности. Непосредственно сам конденсатор применяется для блокировки возможных помех, таким образом предотвращая выход из строя триггера. Предназначение переключателя SA1 заключается в активации и деактивации питания.
- Не менее важной составляющей является входная цепь, в состав которой входят контроллер, резисторные элементы R1 и R2 и конденсаторное устройство С1. Роль контроллера здесь выполняет зажим девайса, который зовется крокодилом, он фиксируется на высоковольтном проводе первого цилиндра. Если подключение будет правильным, то вышеописанные элементы образуют простую дифференциальную цепь.
- Схема триггера. Эта составляющая состоит из двух одиночных вибраторов, применяющихся для образования сигнала нужной частоты на выходе. Эти компоненты выполняют функцию частотозадающих.
- На резисторных элемента R5-R9 изготовляется выходной каскад, также для этой цели применяются транзисторы VT1. VT2 и VT3. Эти устройства необходимы для увеличения выходного тока триггерной платы. Резисторное устройство R5 задает определенный ток базы транзисторного элемента под номером 1 (видео снял Максим Соколов).
Принцип действия
Девайс для выставления угла опережения работает от встроенного аккумулятора либо автомобильной батареи. При активации переключателя первым начинает работать триггер. На выходах 2 и 12 платы происходит образование повышенного потенциала, а низкий формируется на контактах 1 и 13. В этот момент конденсаторные детали С3 и С4 получают питание от резисторов.
Сигнал с контроллера идет через дифференциальную цепь и в конечном счете подается на вход DD1.1. Поскольку он является одновибратором, в результате это способствует переключению девайса. Затем в схеме осуществляется переразряд С1, что опять же, способствует переключению триггера.
Элемент DD1.1 будет реагировать на импульсы, подающиеся с контроллера, таким образом формируя новые прямоугольные импульсы на первом выводе. В случае со вторым одновибратором DD1.2 принцип действия будет идентичным — благодаря этому устройству длительность импульса на контакте 13 уменьшается в 10 раз. Этот элемент функционирует под нагрузкой, подающейся с усилительного каскада транзисторов, которые открываются на время импульса. Благодаря резисторным компонентам R6, R7 и R8 ток ограничивается, его величина в общей сложности должна быть не выше 0.8 ампер.
Значение тока не высокое, это обусловлено следующими факторами:
- длительность импульса составляет не больше 1 сек;
- обычно для настройки УОЗ автовладельцам требуется не больше 10 минут, за такое время кристаллы не перегреются;
- диоды, использующиеся сегодня, обладают более улучшенными характеристиками и особенностями, если сравнивать с устройствами, применявшимися более 10 лет назад.
Печатная плата и детали сборки

Для того, чтобы соорудить своими руками стробоскоп, потребуется плата со всеми необходимыми элементами.
В качестве примера:
- На рассматриваемой нами плате функцию диода выполняет контроллер КД2999В. В принципе, можно использовать любой другой, только нужно учитывать, что диодный элемент должен иметь минимальное падение напряжения.
- Также используются конденсаторы. Важно, чтобы они были рассчитаны на 0.068 мкФ. Что касается основного конденсаторного устройства С1, то он представляет собой высоковольтную деталь, напряжение на которой составляет 400 В.
- Триггерное устройство — ТМ2 — обладает отличной устойчивостью к возможным помехам.
- Необходимо, чтобы используемые транзисторы VT1, а также VT2 имели большой показатель усиления.
- Что касается диодов, отмеченных символами HL1-HL9, то они должны иметь максимальную яркость, а также желательно, чтобы угол рассеивания был небольшим. Диодные компоненты монтируются на отдельной схеме, их количество должно составить 3 в ряду.
Нюансы настройки устройства
Прежде чем использовать самодельный стробоскоп на авто, его надо правильно настроить. Изначально следует осуществить регулировку подстроечного резисторного компонента, это даст возможность обеспечить нужный визуальный эффект. Во время перемещения регулятора вы можете увидеть, что из-за падения импульса освещение меток будет неэффективным, а если импульс будет слишком высоким, то освещение будет размытым. На данном этапе вам надо правильно отрегулировать эффективность вспышек света (видео снял Serj ZP).
Установка УОЗ стробоскопом
Как пользоваться самодельным девайсом для регулировки УОЗ:
- Для начала следует завести мотор и прогреть его до рабочей температуры. Для этого дайте поработать агрегату на холостых оборотах.
- Затем вам надо будет подсоединить самодельное устройство к источнику питания. Это может быть либо встроенный аккумулятор, либо аккумуляторная батарея автомобиля.
- Далее, к жиле цилиндра 1 следует подсоединить медный датчик, для этого намотайте его на жилу.
- После этого диодную лампочку следует направить на метку, нанесенную на корпус распределительного механизма.
- Когда эти действия будут выполнены, вам нужно найти неподвижную точку, она расположена на шкиве маховика.
- Для того, чтобы обеспечить совпадение этих точек, нужно вращать корпус распределительного устройства. А когда точки совпадут, корпус нужно зафиксировать в этом положении. При совпадении точек диоды должны загореться.
Как самостоятельно изготовить прибор?

На сегодняшний день существует множество различных вариантов схем для изготовления стробоскопа. Мы рекомендуем ознакомиться с одним из самых простых и наименее затратных с финансовой точки зрения способов изготовления.
Для его реализации вам потребуются следующие составляющие:
- транзисторное устройство КТ315;
- тиристорный элемент КУ112А, а также резисторные компоненты, рассчитанные на 0.125 Вт;
- диодные лампочки или фонарик на светодиодах, который будет использоваться в качестве корпуса, при этом количество диодных элементов должно быть не меньше 6 штук;
- конденсаторные устройства С1;
- V2 на схеме — это низкочастотный диодный компонент;
- также вам потребуется реле, его индекс должен составлять RWH-SH-112D;
- кабель питания, длина его должна составить не менее одного метра;
- зажимы;
- также понадобится кусочек медного провода длиной примерно 10 см.
Все эти составляющие можно купить в любом тематическом магазине или на радиорынке.
Как соорудить такое устройство самостоятельно:
- Для начала на задней стороне подготовленного корпуса следует дрелью просверлить дырку, через нее вы уложите кабель питания.
- Затем к концам приготовленных шнуров необходимо подпаять подготовленные зажимы. Желательно заранее отметить на них, какой будет плюсовым, а какой — отрицательный, будет лучше, если цвета зажимов будут разными.
- Сам датчик монтируется слева или справа на корпусе. На боковой части корпуса надо проделать еще одно отверстие, оно будет использоваться для укладки шнура к контакту Х1.
- Затем к основной жиле кабеля следует подпаять подготовленный кусок медной проволоки. Данный провод считается одним из основных, поскольку он будет использоваться в качестве датчика девайса.
- Остается только заизолировать соединения изолентой или термотрубками.
Фотогалерея «Собираем стробоскоп своими руками»


Заключение
Как видите, в целом соорудить такой девайс — не проблема. Достаточно иметь определенные знания в области электроники и следовать действиям, описанным в инструкции. Если в ходе сборки вы допустите ошибки, то возможно, устройство будет работать некорректно. Если у вас нет опыта в изготовлении подобных устройств, то возможно, есть смысл задуматься над покупкой нового стробоскопа.
Видео «Наглядная инструкция по регулировке УОЗ стробоскопом»
Что нужно знать об эксплуатации данного девайса, и какие нюансы следует учитывать при настройке — узнайте из ролика (видео снято Владиславом Чиковым).
